比特币在2025年突破20万美元历史高点,数字货币投资热潮再度席卷全球。面对层出不穷的交易平台,投资者最关心的问题是:我的资产放在这里真的安全吗?
区块链安全机构最新数据显示,2025年上半年,全球因DeFi漏洞和协议攻击造成的损失超过30亿美元。在这个机遇与风险并存的市场,选择安全可靠的加密货币交易所,已经成为投资成功的第一步。
了解更多:2025排名前十的加密货币交易所清单,新老巨头更迭背后的财富密码与陷阱 - 币界网
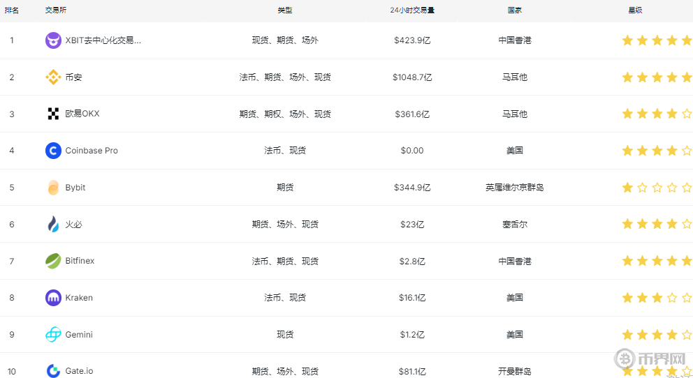
数字货币市场日趋成熟,交易所的竞争重点已经从单纯的交易量,转向安全性、合规性和透明度的综合比拼。以下是基于多维度的2025年全球十大加密货币交易所综合排名:

加密货币交易所排名,来源币界网
去中心化交易所XBIT 在Meme币赛道表现突出,单日交易量达47亿美元,支持487种Meme币交易,稳居DEX综合榜单前三名。
全球最大的加密货币交易所币安(Binance) 继续保持领先地位,2025年第一季度其现货交易量达到2.2万亿美元,市场份额占40.7%,提供1,829个交易对,在流动性和交易深度方面具有明显优势。
美国上市公司Coinbase 是机构投资者和普通用户的首选入口,拥有超过1.1亿验证用户,其永续期货产品从15个扩展到106个,衍生品日交易量同比暴涨6200%。
Bitget 作为今年的行业黑马,2025年第一季度总交易量达2.08万亿美元,现货交易量季度环比增长159%,全球用户超过1.2亿,衍生品交易量稳居行业前三。
Bybit 重振雄风,3月份平台资金流入达36.1亿美元,总锁定价值(TVL)149亿美元,第二季度成功跃升为全球交易量第二大的加密货币交易所。
老牌交易所Kraken 凭借稳健运营赢得机构和资深用户信任,拥有超1300万用户,每日现货交易量2.83亿美元。

Kraken
OKX 作为全球领先的交易平台,提供丰富的加密货币交易对和多样化交易方式,在优化全球业务布局后,依靠扎实技术实力和成熟产品设计保持竞争优势。
Gate.io 稳健发展,累计服务2200万用户,平台储备资产超100亿美元,储备比率达128.58%,是全球最具偿付能力的交易所之一。
KuCoin 以灵活的交易产品和创新功能见长,支持数百种加密货币交易,其平台币KCS为用户提供多种权益和奖励。
MEXC 凭借丰富的资产选择和低廉费率吸引大量山寨币交易者,2025年2月至4月期间,平台链上存款增加3.9亿美元。
在加密货币世界,平台的“安全声明”与“实际保障”往往存在显著差距。投资者应从以下三个关键维度全面评估交易所的安全性:
顶级交易所构建了多层次、纵深防御的技术安全体系。币安设立的用户安全资产基金(SAFU),将10%的交易费用专门用于保障用户资产安全。

SAFU Wallet
Coinbase采用与纳斯达克同级的技术架构,98%的用户资金存储于离线冷钱包,并采用地理分散存储策略。Kraken则通过多重签名和分布式服务器架构,确保系统安全稳定运行。
对加密货币投资者而言,交易所的资产保障能力是选择时的核心考量,而可信交易所普遍通过可验证的资产证明机制,为用户资金筑牢安全背书。例如,Bitget推出的Merkle Tree资产证明与储备金证明系统,以透明化技术实现用户资产“可验证、可兑付”,彻底打消资金挪用顾虑。与此同时,Gate.io始终保持128.58%的高储备比率,这一数据使其在全球交易所偿付能力排名中稳居前列,抗风险能力突出。此外,Gemini不仅为用户资金提供全面保险保障,更设立2亿美元专项赔偿基金,进一步提升资金安全兜底能力。
随着全球监管框架完善,合规性成为交易所安全的重要指标。美国正在推进数字资产明确立法,这将进一步促进行业规范发展。

XBIT
Coinbase作为美国上市公司,在合规管理和机构服务方面具有天然优势。XBIT去中心化交易所与瑞士金融市场监管局(FINMA)合作,成为首个通过欧盟MiCA法案预审的DEX协议。
了解更多:一文读懂什么是去中心化交易所DEX:XBIT DEX如何凭借高效链上架构适配宏观政策窗口? - 币界网
加密货币领域最危险的不是明面风险,而是那些被华丽外衣包装的投资陷阱。
区块链领域存在不少“名不副实”的现象,诸多宣称“去中心化”的项目,其实际控制权却高度集中。这一结论并非空穴来风,区块链研究报告明确显示,市场上60%-75%的此类项目由中心化实体掌控。

11月15日,ARK项目闪崩事件
前美国财政部网络安全专家David Utzke博士也佐证了这一点,他指出:“多数以去中心化为卖点的项目,实际上运行在私人控制的集中式账本上。”更值得注意的是,这种宣传与架构的矛盾广泛存在,许多Layer-2和Layer-3项目即便技术迭代,仍在核心环节保留着中心化控制元素,让投资者难以辨别项目本质。
进入2025年以来,加密货币行业的风险集中爆发,DeFi领域的漏洞与协议攻击频发,导致投资者蒙受巨额损失,这不仅让众多参与者血本无归,更暴露出行业监管与技术安全的双重短板。这一问题在Memecoin(迷因币)平台上表现得尤为突出,Pump.fun和Degen Chain等案例便清晰凸显了行业的脆弱性。

空气币 ARTS事件
数据足以说明问题:这些平台上线的超700万种代币中,仅有不到3%能保持长期价值,超过80%的代币最终沦为“空气币”走向归零。针对这种投机乱象,Utzke博士将其精准定义为“PvP退化赌场模型”,点出了行业无序发展的核心症结。
明智的投资者需要在收益与安全间找到平衡点,以下是实用选择指南:
初级投资者适合选择Coinbase、Crypto.com和Bitget等平台,这些交易所界面友好、法币入金便捷、客服响应及时。
专业交易者更倾向币安、Bybit和Bitget,这些平台流动性充足、产品丰富、工具先进,满足专业交易需求。
隐私重视者可考虑BTCC、MEXC、Bydfi和Gate.io等平台,在符合监管要求前提下提供一定程度的交易隐私保护。

Coinbase
选择交易所时,请遵循以下安全检查表:
监管资质:是否持有合规牌照?是否执行KYC和AML规定?
资产证明:是否定期发布第三方审计的储备证明?储备率是否超过100%?
保险保障:是否设立保险基金或购买商业保险?
安全记录:是否有重大安全事件?应急响应能力如何?
运营透明:团队背景是否公开?决策过程是否透明?
加密货币交易所发展进入新阶段,安全体系、合规运营与透明治理成为核心竞争要素。市场表面平静,但链上数据揭示更深层动态。各大交易所正在为下一轮市场发展积蓄力量。无论是监管突破、宏观环境变化还是机构资金入场,领先平台都已做好准备。随着全球主要市场监管框架逐步清晰,合规交易渠道将持续拓宽。在技术创新与安全保障间找到平衡点,是加密货币交易所实现可持续发展的关键所在。
免责声明:本文内容仅为市场信息参考,不构成任何投资建议。加密货币投资具有较高风险,投资者应根据自身情况独立判断并承担投资风险。